Đặc Điểm Chung
- PMD Profiler để kiểm tra hồ sơ đối tượng
- Kiểm tra kiểm soát chất lượng nội tuyến để đảm bảo lắp ráp chính xác các bộ phận
- Thiết lập nhanh mà không cần phần mềm
- Đo khoảng cách độc lập cho khả năng chịu cao trên định vị đối tượng
- Miễn dịch với ánh sáng không liên quan – không cần sàng lọc hoặc chiếu sáng bên ngoài
- Trực quan hóa hồ sơ tùy chọn thông qua phần mềm
Thông Số Kỹ Thuật
| Loại ánh sáng | đèn đỏ | ||||||||||
| Giao diện truyền thông | LIÊN KẾT IO | ||||||||||
| Lớp bảo vệ bằng laser | 1 | ||||||||||
| Kích thước [mm] | 88 x 65 x 28,5 | ||||||||||
| Dữ liệu điện | |||||||||||
|---|---|---|---|---|---|---|---|---|---|---|---|
| Điện áp hoạt động [V] | 10…30 DC (10…30 DC) | ||||||||||
| Mức tiêu thụ hiện tại [mA] | < 200 | ||||||||||
| Điện áp tham chiếu tiêu thụ dòng điện [V] | 10 | ||||||||||
| Lớp bảo vệ | Iii | ||||||||||
| Bảo vệ phân cực ngược | Có | ||||||||||
| Thời gian trễ bật nguồn [s] | 2 | ||||||||||
| Loại ánh sáng | đèn đỏ | ||||||||||
| Chiều dài sóng [nm] | 650 | ||||||||||
| Đầu vào / đầu ra | |||||||||||
| Số lượng đầu vào và đầu ra | Số lượng đầu vào kỹ thuật số: 1; Số lượng đầu ra kỹ thuật số: 2 | ||||||||||
| Đầu vào | |||||||||||
| Số lượng đầu vào kỹ thuật số | 1 | ||||||||||
| Kích hoạt | Bên ngoài | ||||||||||
| Kết quả | |||||||||||
| Thiết kế điện | PNP/NPN; (parameterisable) (tham số) | ||||||||||
| Số lượng đầu ra kỹ thuật số | 2 | ||||||||||
| Chức năng đầu ra | 2 x thường mở / thường đóng cửa; (parameterisable) (tham số) | ||||||||||
| Tải trọng tối đa trên mỗi đầu ra [mA] | 100 | ||||||||||
| Loại bảo vệ ngắn mạch | xung nhịp đập | ||||||||||
| Bảo vệ quá tải | Có | ||||||||||
| Phạm vi đo/cài đặt | |||||||||||
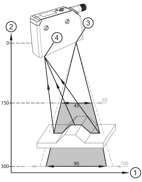
| Khoảng cách đo (hướng Z) [mm] | 150…300 | ||||||||||
| Chiều rộng của phạm vi đo (hướng X) ở khoảng cách đo tối thiểu [mm] | 45; (khoảng cách = 150mm) | ||||||||||
| Chiều rộng của phạm vi đo (hướng X) ở khoảng cách đo tối đa [mm] | 90; (khoảng cách = 300mm) | ||||||||||
| Tốc độ lấy mẫu [Hz] | 5 | ||||||||||
| Độ chính xác / độ lệch | |||||||||||
| Độ phân giải giá trị đo được |
| ||||||||||
| Chính xác |
| ||||||||||
| Phần mềm / lập trình | |||||||||||
| Số lượng hồ sơ có thể được lưu trữ | 1 | ||||||||||
| Số vùng quan tâm | 1 | ||||||||||
| Giao diện | |||||||||||
| Giao diện truyền thông | LIÊN KẾT IO | ||||||||||
| Loại truyền dẫn | COM3 (230,4 kBaud) là gì ? | ||||||||||
| IO-Link revision | 1.1 | ||||||||||
| SDCI standard | IEC 61131-9 | ||||||||||
| Profiles | Smart Sensor: Process Data Variable; Device Identification, Device Diagnosis | ||||||||||
| SIO mode | yes | ||||||||||
| Required master port type | A | ||||||||||
| Min. process cycle time [ms] | 2.3 | ||||||||||
| Dữ liệu quy trình IO-Link (theo chu kỳ) |
| ||||||||||
| Hàm IO-Link (theo chu kỳ) | bộ đếm giờ hoạt động; số sự kiện kích hoạt; Thiết đặt ROI | ||||||||||
| DeviceIDs được hỗ trợ |
| ||||||||||
| Lưu ý |
| ||||||||||
| Điều kiện hoạt động | |||||||||||
| Nhiệt độ môi trường [°C] | -10…55 | ||||||||||
| Nhiệt độ bảo quản [°C] | -40…60 | ||||||||||
| Bảo vệ | IP 65 (Ip 65) | ||||||||||
| Max. miễn dịch với ánh sáng không liên quan [klx] | 20 | ||||||||||
| Kiểm tra / phê duyệt | |||||||||||
| Emc |
| ||||||||||
| Lớp bảo vệ bằng laser | 1 | ||||||||||
| Những lưu ý về bảo vệ bằng laser |
| ||||||||||
| MTTF [năm] | 155 | ||||||||||
| Dữ liệu cơ học | |||||||||||
| Trọng lượng [g] | 484.9 | ||||||||||
| Kích thước [mm] | 88 x 65 x 28,5 | ||||||||||
| Vật liệu | Nhà ở: diecast kẽm; PPSU; ABS; PMMA; PBT / PC; EPDM; ống kính phía trước: PMMA | ||||||||||
| Hiển thị / yếu tố hoạt động | |||||||||||
| Hiển thị |
| ||||||||||
| Nhận xét | |||||||||||
| Số lượng gói hàng | 1 chiếc. | ||||||||||
| Kết nối điện | |||||||||||
| Kết nối | Đầu nối: 1 x M12 | ||||||||||
| Sơ đồ và đồ thị | |||||||||||
| |||||||||||
| Dữ liệu khác | |||||||||||
| đường ánh sáng | |||||||||||
| |||||||||||
| |||||||||||





